一种碳硅化合物制备方法
专 利 证 书 号 数:I860660
名 称:一种碳硅化合物制备方法
[1]申请专利范围
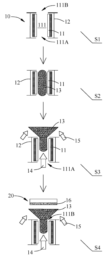
- 一种碳硅化合物制备方法,其步骤包含:提供一中空阴极单元,其包含二硅靶材平行置放于一遮罩内,并于二硅靶材间形成一狭缝,包含一狭缝入口与一狭缝出口;于一减压环境下,施予一等离子电源功率于二该硅靶材,以激发出一中空阴极放电硅等离子;将一溅射气体经由该狭缝入口通入,吹出该中空阴极放电硅等离子至该狭缝出口,以及将一碳氢气体经由该狭缝出口附近通入;反应之该中空阴极放电硅等离子与该碳氢气体生成一碳硅化合物薄膜,被吹出于一基材之至少部分或全部表面进行被覆;以及藉由该溅射气体及/或碳氢气体的流量变化控制该碳硅化合物薄膜成分之硅/碳摩尔比。
- 如请求项1 所述的碳硅化合物制备方法,其中:该溅射气体及/或该碳氢气体的流量由一质量流量计进行控制。
- 如请求项1 或2 所述的碳硅化合物制备方法,其中:该硅靶材包含单晶硅、多晶硅、非晶硅或前述之组合。
- 如请求项1 或2 所述的碳硅化合物制备方法,其中:该溅射气体包含惰性气体。
- 如请求项4 所述的碳硅化合物制备方法,其中:该惰性气体包含氦气、氩气及氪气。
- 如请求项1 或2 所述的碳硅化合物制备方法,其中:该碳氢气体包含甲烷、乙烷、乙烯、丙烯或乙炔。
- 如请求项1 或2 所述的碳硅化合物制备方法,其中:该基材包含金属或非金属基材。
- 如请求项7 所述的碳硅化合物制备方法,其中:该非金属基材包含陶瓷或高分子。
- 如请求项1 或2 所述的碳硅化合物制备方法,其中:该碳硅化合物薄膜为硅与碳反应生成之化合物,分子式包含SixCy,其中:x、y 为任意常数,x/y 摩尔比包含任意常数。
- 为了更清楚地说明本发明实施例的技术方案,下面将对实施例描述中所需要使用的附图作简单的介绍。显而易见地,下面描述中的附图仅仅是本发明的一些示例或实施例,非绝对用以限定本发明的技术范围。除非从前后文显而易见或另作说明,图中相同标号代表相同结构或操作。其中:
- 图1 为本发明一种碳硅化合物制备方法的较佳实施例流程示意图。
- 图2a~2c 为本发明较佳实施例于不同乙炔流量(a) 20 sccm、(b) 30 sccm 及(c)50 sccm 下,所得该碳硅化合物薄膜之截面微观形貌及其成分分布图。
- 图3 为本发明较佳实施例于制程时间16 小时下,所得该碳硅化合物薄膜之截面微观形貌及其成分分布图。
- 图4a 为裸硅晶圆对比例于SiF 6 气氛下,进行等离子蚀刻200 秒后之截面微观形貌。
- 图4b 为本发明较佳实施例于SiF 6 气氛下,进行等离子蚀刻200 秒后之截面微观形貌。
- 图5a 为裸硅晶圆对比例于SiF 6 与Cl 2 气氛下,进行等离子蚀刻200 秒后之截面微观形貌。
- 
		图5b 为本发明较佳实施例于SiF 6 与Cl 2 气氛下,进行等离子蚀刻200 秒后之截面微观形貌。
 
 

【图1】

【图2a】

【图2b】

【图2c】

【图3】

【图4a】

【图4b】

【图5a】

【图5b】
 
